Вязаная блуза спицами
Добавлено: 11.08.2025 в 19:35 Просмотров: 1162
Вязаная блуза спицамиKlubokhttp://klubok.work/1/3/9018/Klubokhttps://klubok.work/css/image/top-logo-en.pngПотребуется:
Пряжа мохер на шелке 500-600м/100г в одну нить – 150г;
Мохер на шелке 800-900м/100г в 2 нити - 200/225г;
Спицы №6 для основного полотна, спицы 3,5 для резинок, (лески 40 и 80см для вязания тела и вязания способом magic loop);
дополнительная нить, лески или булавки (для петель подрезов);
маркеры.
Размеры:
S-M, 42-44 (ОГ до 92см).
M-L, 46-48 (ОГ 93 - 100см).
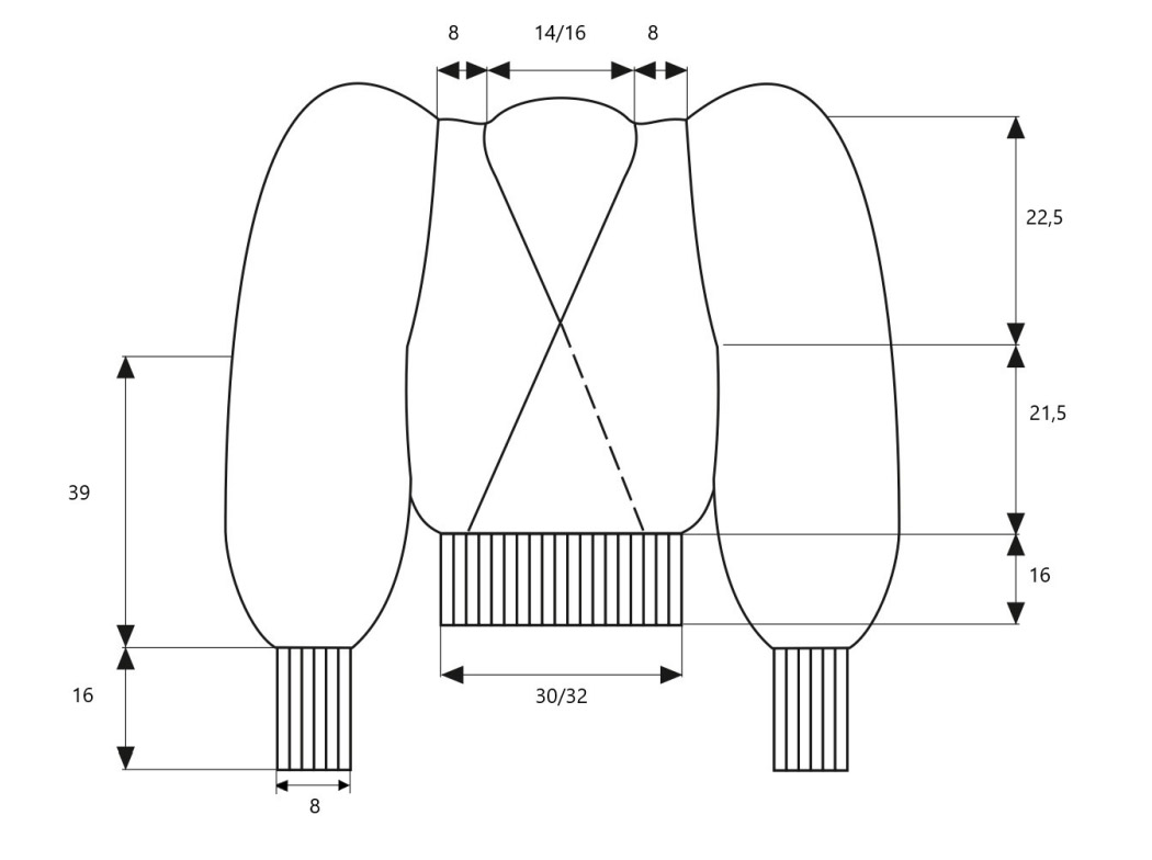
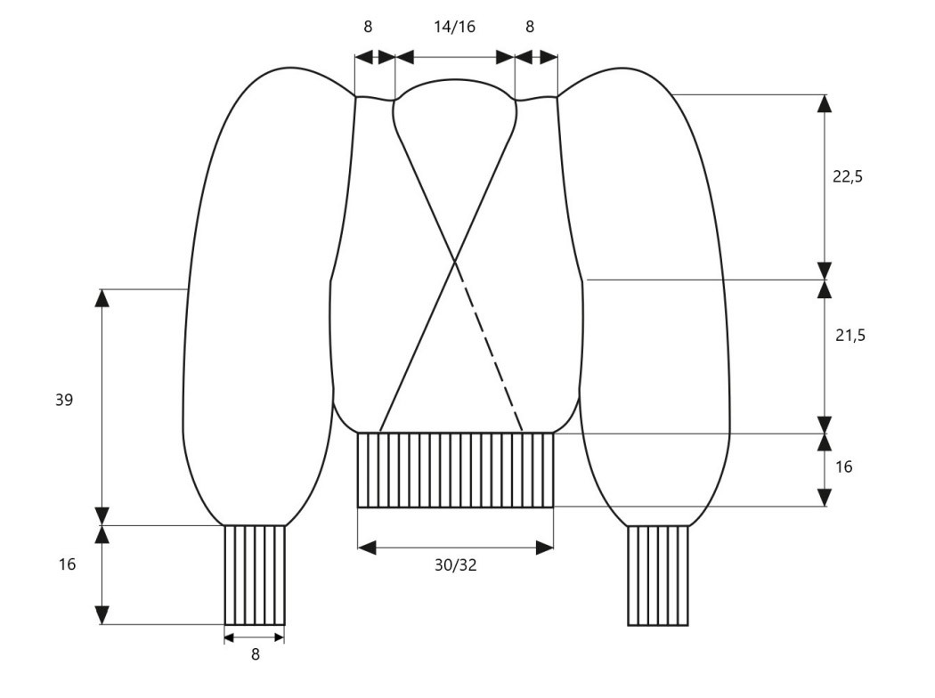
Размеры готового изделия, при условии попадания в заданную плотность, см.
Рисунок 1
Плотность вязания образца лицевой гладью.
Стремимся к 15п.× 16р.= 10×10 см после ВТО, лицевой гладью, спицами №6. Для резинки плотность 21п.× 23р в не растянутом положении. Учитывая, что плотность и особенности вязания у всех разные, размер спиц подбирается индивидуально, важно попасть в заданную плотность.
Узоры, сокращения и пояснения:
Лицевая гладь.
При круговом вязании, все ряды лицевыми петлями (Л).
При поворотном вязании лицевая сторона –лицевые петли (Л).
изнаночная сторона – изнаночные петли (И).
Кромочная петля - по умолчанию, первую петлю снимаем не провязывая, последнюю провязываем изнаночной.
Резинка 1*1 вяжется чередованием 1 лицевой и 1 изнаночной петли.
Маркер начала ряда (МНР).
Убавка двух лицевых с наклоном влево (2Ллев): 2 лицевые петли провязываем вместе за заднюю стенку.
Убавка двух лицевых с наклоном вправо (2Лправ): 2 лицевые петли провязываем вместе за переднюю стенку.
Начало работы.
Тело блузы.
На спицы №3.5 с леской 40см в 2 нити, не туго, набираем 130(S-M)/140(M-L) петель +1 петлю для замыкания вязания в круг (снимаем первую петлю с левой спицы на правую и протягиваем через нее последнюю петлю, возвращаем петлю на левую спицу), устанавливаем МНР.
S-M/M-L 1- 37 ряд резинкой 1*1. Примеряем, резинка должна быть по талии и чтобы было удобно надевать готовое изделие через голову.
Далее, спицами №6 в 1 нить вяжем тело поворотными рядами Л, до подрезов, предварительно вывязываем запАх (далее по тексту запах).
Распределение петель для вывязывания запаха блузы.
Рисунок 2
1 ряд: МНР, 16/18Л, далее провязываем 33/34 петли запаха вывязывая из каждой петли две, за переднюю и заднюю стенки, тем самым увеличив количество петель вдвое, затем 16/18Л, М1, 65/70Л.
2 ряд: МНР, 16/18Л, петли запаха, которые провязывали за переднюю стенку (эти петли формируют внешнюю часть запаха) провязываем лицевыми, одновременно снимая на доп спицу петли, которые провязывали за заднюю стенку, их не провязываем (эти петли формирую внутреннюю часть запаха). Разворачиваем вязание на изнаночную сторону.
3 ряд: 33/34И петли запаха, 16/18И, МНР, 65/70И спинки, М1, 16/18И, 33/34И с доп спицы. Разворачиваем вязание На лицевую сторону.
ЗапАх сформирован.
4-33 ряд вяжем лицевой гладью.
Разделение тела блузы на полочки и спинку.
Разделяем полочки, спинку и подрезы согласно схеме:
Рисунок 3
Сначала будем вязать правую полочку, затем присоединим нить, провяжем петли подреза, снимем их на булавку и приступим к спинке, после снова присоединим нить, провяжем петли подреза, снимем их на булавку и будем вязать левую полочку.
На спицах правая полочка (если смотрим на изделие она левая), будем вязать полочку поворотными рядами лицевой гладью, с убавками для проймы. Петли спинки, подрезов и второй полочки снимаем на дополнительную леску или нить, они в вязании пока не участвуют.
1 лиц ряд: 33/34 петли запаха, 14/15Л (33/34 петли запаха и 14/15 петель боковины образуют полочку, далее полочка, всего 47/49 петель).
2 изн ряд: по рисунку.
3 лиц ряд: 43/45Л, не доходя до 4 петель конца ряда делаем убавку 2Ллев, 2Л.
Делаем убавки в 5 лиц ряду S-M (всего 2 убавки), для размера M-L и в 7 лиц ряду (всего 3 убавки). На спицах 45/46 петель, вяжем лицевой гладью 36 рядов.
В конце 31 ряда вешаем маркер-булавку, это одна из контрольных точек (при сшивании тела и рукава, точки должны совпасть).
Далее формируем линию плеча.
Рисунок 4
37 лиц ряд: провязываем 10Л планки (их не закрываем), далее 5Ллев, 5Ллев, 5Ллев, 5Ллев, 5Ллев, 5Ллев, 5Ллев/5Ллев, 4Ллев, 5Ллев, 4Ллев, 5Ллев, 4Ллев, 5Ллев, 4Ллев одновременно закрывая эти 35/36 петель не туго. (ширина плеча после закрытия 7/8см).
Присоединяем нить к оставшимся на спице 10 петлям (с изнаночной стороны), которые будут формировать планку-воротник, их провязываем лицевой гладью 10/11 рядов. Оставить нить длиной 30- 40см, этой нитью будем сшивать открытые петли планки-воротника.
Поднимаем 4/6 петель подреза и 61/64 петли спинки на спицы, присоединяем нить, провязываем 4/6 петель подреза, снимаем их на булавку. Вяжем спинку лицевой гладью, делая убавки для пройм в начале и в конце 3 и 5 ряда для S-M, и в 3, 5, 7 для M-L следующим образом: К, 1Л, 2Лправ, петли спинки, не доходя до 4 петель конца ряда делаем убавку 2Ллев, 2Л.
Всего вяжем 36 рядов, не забывая начало и конец 31 ряда отметить маркерами-булавками (контрольные точки).
Далее формируем плечи убавками с одновременным закрытием:
S-M 3Лправ, 3лправ,3Лправ, 3Лправ, 3Лправ, 3Лправ, 2Лправ, 17Л, 2Ллев, 3Ллев, 3Ллев, 3Ллев, 3Ллев, 3Ллев, 3Ллев.
M-L 3Лправ, 2Лправ, 3Лправ, 2Лправ, 3Лправ, 2Лправ, 3Лправ, 2Лправ, 18Л, 2Ллев, 3Ллев, 2Ллев, 3Ллев, 2Ллев, 3Ллев, 2Ллев, 3Ллев.
Ширина спинки в месте закрытых петель 30/32см.
Рисунок 5
Оставляем нить около 2.5м, для сшивания спинки и полочек.
Поднимаем петли второй полочки и подреза на спицу и присоединяем нить, провязываем 4/6 петель подреза, снимаем их на булавку. Зеркально вяжем левую полочку, делая убавки в начале и в конце 3, 5 ряда S-M и 3, 5, 7 для M-L.
1 лиц ряд: 47/49Л.
2 изн ряд: по рисунку.
3 лиц ряд: К, 1Л, 2Лправ, 43/45Л.
Делаем убавки в 5 лиц ряду (всего 2 убавки), для размера M-L и в 7 лиц ряду (всего 3 убавки). На спицах 45/46 петель, вяжем лицевой гладью 36 рядов.
В начале 31 ряда вешаем маркер-булавку, это одна из контрольных точек (при сшивании тела и рукава, точки должны совпасть).
Далее формируем линию плеча.
37 лиц ряд: провязываем, одновременно закрывая 5Лправ, 5Лправ, 5Лправ, 5Лправ, 5Лправ, 5Лправ, 5Лправ/4Лправ, 5Лправ, 4Лправ, 5Лправ, 4Лправ, 5Лправ, 4Лправ, 5Лправ, 10Л планки (продолжаем вязать эти 10 петель).
Провязываем планку лицевой гладью 10/11 рядов, петли оставляем открытыми. Сшить открытые петли планок любым удобным способом.
Детали переда и спинки складываем лицевой стороной внутрь, сшиваем детали крючком петля в петлю.
Рукава.
Спицами №3,5 набираем 40/44 петли +1 петля для замыкания вязания в круг, в 2 нити. Устанавливаем МНР, вяжем манжет 1- 37 ряд резинкой 1*1. Примеряем, манжет должен плотно обрамлять запястье.
Спицами №6 вяжем по кругу лицевой гладью в 1 нить, в 1 ряду из каждой лицевой петли резинки вывязываем две петли (провязываем за переднюю и за заднюю стенки), из изнаночной петли одну лицевую. На спицах 60/66 петель. Вяжем лицевой гладью 63 ряда. Затем закрываем 4/6 петель подрезов.
Далее вяжем рукав лицевой гладью поворотными рядами. В 3,5/3,5,7 лиц рядах делаем убавки в пройме, аналогично убавкам в спинке. В начале и в конце 17,23/17,23,29 ряда делаем прибавки из протяжки или скрещенный накид: К, 1Л, +1, Л петли рукава, не довязывая 2 петли до конца ряда +1, 1Л, К. Всего вяжем 32 ряда. На спицах 56/60 петель.
Контрольные точки начала и конца 31 ряда отмечаем маркерами-булавками. Далее вывязываем окат плеча, закрывая петли с каждой стороны согласно схеме:
Рисунок 6
Иглой с двойной нитью собираем и стягиваем окат плеча, тем самым формируя "фонарик".
Аналогично вяжем второй рукав.
Вывернув на изнаночную сторону, пришиваем рукава к телу крючком петля в петлю. Контрольные маркеры, петли рядов и петли подрезов должны совпасть.
Прячем концы нитей в швы, примеряем и проводим ВТО.
Рекомендации по ВТО (влажно-тепловой обработке), уходу и хранению вещей из мохера:
Деликатная ручная стирка без замачивания, с использованием жидких моющих средств для изделий из шерсти, в воде 30*, без трения и скручиваний.
Полоскать в воде той же температуры.
Отжать прижимая полотно ладонями, завернув в большое полотенце, которое впитает лишнюю воду.
Сушить аккуратно разложив на горизонтальной поверхности, подложив ткань для впитывания влаги, несколько раз ее меняя и переворачивая изделие.
Не утюжить! Для распрямления складок и заломов воспользоваться парогенератором либо повесить ненадолго в ванной комнате и открыть кран с горячей водой.
Прочесать, поднять ворс (без нажима) специальной щеткой для мохера или мягкой расческой для волос.
При небольших загрязнениях не нужно сразу же стирать изделие, достаточно обработать загрязненный участок щеткой или влажной губкой, а чтобы освежить вещь – пройтись отпаривателем.
















